«

提高 Google Adsense 收入的七个小技巧

时间:2025-12-25 00:54     作者:独元殇     分类: AI 与出海


欢迎关注我的公众号,名叫「串串狗小刊」

这个我对某飞大佬社群里的故事情节的拼凑,我转换了一下语气,按照自己的记录笔记和理解,写了一篇知乎提问【Google Adsense 的收入怎样?】的回答:

不同国家地区,收入都不一样的。

而且里面还是坑不少的。目前我们团队,今年夏天新做的站,围绕 ai 音乐相关的词,做的站,全靠几个长尾词的子域名的广告来收入,就能抵消掉我这三线城市的办公室房租了。当然主力收入还是别的站的订阅(海外站),但这个成绩还算满意。

目前我认为,相同时间精力,收入比做自媒体强个两三倍。而且稳定。还不错。

对于你这个问题,今天,我就讲 7 点自己的经验吧,是有关它的误区、易错点、注意点!

首先,靠这个养活自己的难度,绝对是比自媒体容易的,但不如进厂打螺丝。自媒体停发作品,几乎马上停止收入,而站点不是。起号和起站点,难度差不多,但待遇不一样。

我称呼想靠这个来作为自己副业的人,为 Google ads 流量主。

常识

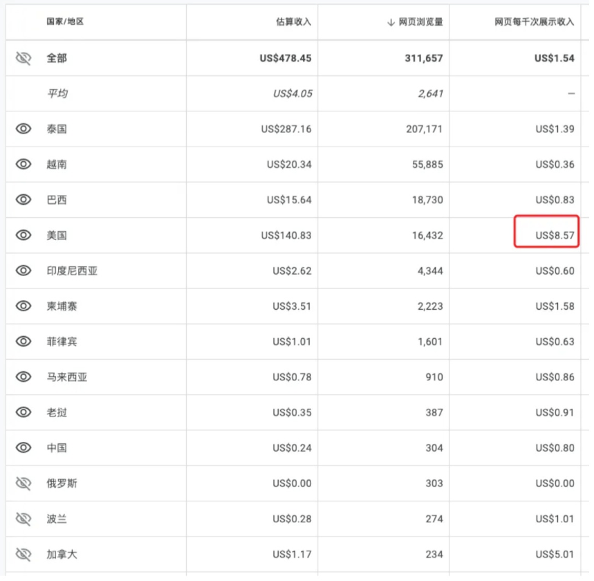
第一点、是个常识,谷歌在不同地区的收入,千次点击量价格是不一样的:

img

(我们团队其一子域名 的某个时间段的单独数据)

发达国家的要比不发达的多!这个肯定合乎常理。所以我得提醒一句。最好做欧美的。内地的实在.... 可怜。

第二点、咱们是流量主身份,咱们要知道什么站,更有利于性价比。不要碰科普!不要碰工具推荐!不要碰代码!这些广告单价会明显低于 【生产力站】,就比如工具站。

工具站 简直完美,尤其是 ai 时代有点基础底子的程序员,而且不会被 AI 语言大模型抢走饭碗,我们只是在分销 AI 算力的 token 罢了(像 农夫山泉 一样)。

工具站是我目前感觉是普通人能做的广告单价最高的类型,当然更高的也有,但那些领域一般人无法深度参与,例如医疗、法律、金融,你没影响力权威力,做不起来。

第三点、不要做导航!纯交易类站!这些站没用,用户停留时间太短,或者利益冲突。如果你需要内容博客文章 SEO 来导流,选关键词要选择那些有钱人、花钱解决麻烦的人才搜索的词。最好是 某某某 产品出错了怎么办?

谷歌 ads 内部也有套路!

第一点、不知道我们有没有看过很多站点(尤其是国内站),甚至是大站,竟然里面有些很敏感的内容,比如颜色、科学工具(你懂)、甚至 z z 敏感,一看,还是谷歌广告!

我们通常认为谷歌广告,这可是谷歌啊!打着全球第一大厂的名号,应该是不用我们这些小人物多操心的吧,实际上你国内的站,里面有这些不良广告内容,百度、搜、360 等会悄悄把你站的 SEO 给打压很多!(很多人吐槽百度突然不收录我了,其实有点这个原因

更甚被 JC 叔叔请去喝茶惹麻烦!!!固在后台要关掉这些,就算是收入占比高也要忍痛关掉:

img

关闭敏感信息,免得惹火上身

第二点、每月都要检查一遍【常规类别】,屏蔽清除掉展示的多,却挣钱少的类别:

img

这个非常重要!每月调整一次。

第三点、这里说一个误区!谷歌 Ads 像一个国际广告组织,它除了自己接广告,然后分发,它也接广告商代理商,收他们的中介费!

比如有时候我们网站的广告框里,里面并不显示【谷歌提供的广告】,而是其他稀里糊涂的。这就是第三方联盟。

谷歌里面有很多代理商,貌似有一万个,它们享受着谷歌的流量资源,自己也会定价!这算是一个很少人说的坑吧。

新手肯定不知道!有很多广告代理商,会故意价格压的很低,而且质量很粗糙(缺乏审核力度)。谷歌官方的广告质量还算有保证,里面没很多稀里糊涂的东西。

很多小商,里面会搞一些敏感或不雅的内容,让你站变成小 h 站,而且价格低的离谱,专门坑小白,白嫖小白的站。我们的站点,就那几亩地,被他们长期占用了,不仅伤害你站的形象,更让你收入一直很低。甚至让人咬牙切齿的 US$0.20 千次单价!

另外,这些站点貌似是自己的服务器,速度还很慢,拖慢你的站点加载。

于是需要我们去手动「解约」了!默认我们一切广告代理商的广告都接的,毕竟谷歌也要收中介费嘛,需要一视同仁,理解。

img

(位置在 【品牌保障-屏蔽控制-Authorized Buyers】)

这里,需要你手动一个一个关闭,大概得 10 分钟。

在我很长时间的经验里,认为,可以留下以下几个代理商,不会出不雅的内容,且价格合理:

  1. Amazon
  2. The Trade Desk
  3. Criteo
  4. RTB House
  5. MetaAds
  6. LinkedIn
  7. Yahoo DSP
  8. Adobe
  9. Equativ
  10. Quantcast

当然,如果你愿意,可以全部都消除。谷歌会默认内部开启自己官方的。

你可以做做实验,看看启用上面的代理商收入好,还是全取消了收入好。

全取消了,很可能会出现空白期。谷歌广告供应不了。大家可以私下里做实验!我认识的很多大佬,都全部取消了。我目前也是在实验。

第四点、还有,我们的新站一定要开启 Ads 实验。

img

让谷歌自己优化一下,收入的性价比会提高不少,对于新起号的站,起码提高 10% 个!

标签: 原创 谷歌

评论:
avatar
GoodBoyboy 2025-12-26 11:49
mark了